小学生の頃、FM放送と言えば、地元のNHK-FMしか聞くことができませんでした。新聞の番組欄を見ると、FM東京の番組内容が載っており、クラシック音楽が多かったNHKとは対照的に、ポップスを多く放送しているようだということが分かりました。
当時、家にあった木のクズ(当時、我が家では薪で風呂を焚いており、その焚きつけ用に現場の大工仕事で余った木のくずが置いてあった。)を組み合わせて、4エレZLスペシャルを作りました。(原典:ラジオの製作) エレメントは木の棒に沿わせた電線です。
で、FM東京を聞くことができ、モノラルラジカセで聞いていました。ノイズが多かったけど、コーセー化粧品歌謡ベストテンや、ダイアトーンポップスベストテンは毎週楽しみに聞いていました。
夏になり、台風がやってきました。自作のFMアンテナは、屋上の下屋になっているビニールトタンの上に乗せてあるだけだったので、強風で吹き飛ばされてしまいました。井戸のところにアンテナの残骸が落ちているのを見た時はショックだったなぁ。
木で作ったアンテナではマストに取り付けることができないので、次にFM8を買いました。マストやら屋根馬やら買ったら、お年玉がなくなってしまった。今度は屋上の上に上げました。
中学生になり、アマチュア無線を始めることになったので、屋上のFMアンテナは屋根から撤去、低い場所に移設しました。それでも東京のFM放送は良く聞こえました。静岡にも民放のFM放送局ができましたが、首都圏のNHK-FMローカル番組を聴いたりしていました。土曜日の午後はNHKでも放送局毎にいろいろな番組やってたのね。
高校生の頃に開局したFM横浜は良く聴いた放送局でした。辻仁成(デビュー前!)、種とも子、渡辺美里、鈴木賢二など、そうそうたるメンバーがDJやってましたな〜。
大学生になり、上京しました。この頃は静岡には普段はいないので、FM放送受信設備はほったらかし。
東京在住時代にJ-WAVEが開局。結構良く聴いていました。
静岡に帰って来て、またFMアンテナを整備しました。FM10にFCZのGaAsプリアンプ。J-WAVEもそこそこの状態で受信でき、朝のお目覚めに利用していました。オーディオタイマーを利用して、朝J-WAVEが聞こえるようにしておくのです。これをローカルの間では「カビラ起き」と呼んでいました。(ジョン・カビラがナビゲーター)「Gooood Moooorning Tokyo!」って始まるのね。
最近はアンテナが老朽化してきたのか、J-WAVEの受信状態も悪くなってしまった。で、今ある技術を使ってFM放送受信設備を再構築しました。(すげー長い前振り)
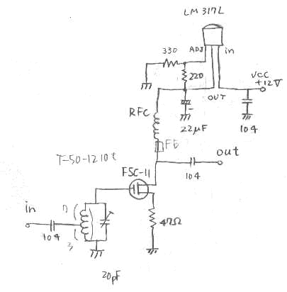
まず、受信プリアンプの製作。部品箱にずっと眠っていたFSC-11というHEMT
FETを使ってプリアンプを製作。VHF帯にはもったいないですね・・・。(写真がボケちゃった。でも、この方が半田付けの汚いのがバレなくて丁度いいや。)
![]() |
![]() |
入力側のインピーダンスマッチングですが、高めに設定した方がゲインが高くなり、また、帯域特性も鋭くなるようです。
50Ωの測定系で測定した結果ですが、
| 入力側同調回路の コイルのタップの位置 |
推定される 入力側インピーダンス |
ゲイン |
| 9:1 | 5000Ω | 25dB |
| 8:2 | 1250Ω | 30dB |
| 7:3 | 555Ω | 25dB |
| 6:4 | 312Ω | 24dB |
| 5:5 | 200Ω | 22dB |
| 4:6 | 139Ω | 20dB |
| 3:7 | 102Ω | 18dB |
と、なりました。(測定技術も製作技術も未熟なため、信用度は低いです。)
75Ω換算すると、7:3で833Ωとなるので、タップは7:3としました。
NFは不明です。(測定していない。)
![]() |
| 防水ケースに入れてアンテナ直下に設置。 (防水ケースのフタを開けたところ。) |
次にアンテナの作り直し。FM10も錆びてしまったからなぁ。
![]() |
| 旧FM10 長い間、ゴクローサン |
せっかくなので、シミュレーターで設計してみました。
条件は・・・
・76〜85MHzでSWR<2.0。
・76〜85MHzでそこそこのフロントゲイン。
・81.3MHzでF/R比最大(約25dB)
・ブームはFM-10のものを流用。(ブーム長さ4,350mm)
・シミュレーションし易いようにシングルドリブン。
・給電エレメントはフォールデッドダイポール。
で、設計したのはこんなアンテナ
![]() |
YOでシミュレーションした結果・・・
![]() |
![]() |
現状のFM-10だけでは部品が足らないので、FM-3を購入し、部品として使用しました。
エイヤッと製作し、1日で上げてしまいました。
![]() ![]() |
| 旧10エレのさびさびの部品は亜鉛スプレーを掛けて再利用しました。(セコ!) |
![]() |
| 組み立てているところ。割とデカく見えますね。 |
同軸ケーブルは5CFBですが、すべて電気長で1/2λになるようにしました。
アンテナの設置場所ですが、以前立っていた場所は送電線の近くだったので、少し離しました。
(アマチュア無線のアンテナとは接近してしまったが。)
また、ハイトパターンの影響があるのか?と思い、アンテナの高さを変えてみましたが、ほとんど影響はありませんでした。中途半端な高さで強くなるわけではなく、ある程度の高さ以上だったら、同じ強さでした。
![]() |
| エレメントの水平が合ってない〜 いわゆる「スカッとしてないテナー」 |
設営後、SWRを測定してみました。と言っても送信機はないので、MFJのSWRアナライザでの計測です。SWRアナライザは50Ω仕様なので、50Ω→75Ωの変換トランスをかませて測定しました。が、この変換トランスは自作で、80MHz辺りだと結構動作が怪しいのですが・・・
![]() |
参考までにどんな結果になったかと言うと、

解析結果と実測が似ているといえば似ているし、そうでないと言えばそうでもない。
思ったよりも高めのSWRになったので、本当は微調整が必要。
実測1は初めに作ったもので、コンピューターのシミュレーション通りにラジエーターのフォールデッドダイポールを正規の長さよりも80mm伸ばしたもの。(下の写真の下側)
実測2はその後、正規のフォールデッドダイポールとした時のもの。(下の写真の上側)
![]() |
ただ、プリアンプの実験のところでも分かるように、受信アンテナは送信アンテナほどSWRの影響を受けないので、そのまま使っています。
今の設備での受信状態をまとめてみました。
| 受信日時 | 2004/2/11 21:00 | |
| 受信地 | 静岡市安西(JG2TSL自宅) | |
| 受信設備 | アンテナ | 自作7エレYagi-Uda(4.3mブーム) 13mh 東京方向ビーム固定 |
| 受信アンプ | 自作直下型HEMTアンプ(FSC-11LF) 25dB Gain |
|
| チューナー | SONY ST-5130 |

TRIO KT-770というPLLチューナーもあるのですが、ST-5130という30年前のアナログチューナーの方が混信に強くて良く聞こえたりするのです。ジャンク同然のを手に入れ、電解コンデンサを全て新品に交換して復活させました。
| エアチェック可能! |
| BGMにできる |
| 聴取に耐える |
| 周波数(MHz) | FM局 | SINPO | 送信所場所 | 出力 | 備考 |
| 76.1 | インターFM | 43453 | 東京 | 10K | マリンパルの混信があるので、少し同調をずらすと良い |
| 76.3 | マリンパル | 55555 | 清水 | 20 | |
| 76.7 | COAST-FM | 22252 | 沼津 | 20 | |
| 76.9 | FM-Hi! | 55555 | 静岡 | 20 | |
| 77.1 | 放送大学 | 43353 | 東京 | 10K | FM-Hi!の混信アリ。 |
| 77.7 | VOICE CUE | 55555 | 三島 | 10 | |
| 78.0 | bay-FM | 55454 | 船橋 | 5K | 千葉からとは思えないほど強力 |
| 78.6 | FM FUJI | 35353 | 三ツ峠 | 300 | |
| 78.9 | 湘南ビーチFM | 35353 | 葉山 | 20 | なんと神奈川のコミFが聞こえた! |
| 79.2 | K-MIX | 55555 | 静岡 | 1K | 地元局 |
| 79.5 | NACK5 | 13231 | さいたま | 5K | 内容がなんとか分かる程度 |
| 80.0 | TOKYO-FM | 45454 | 東京 | 10K | |
| 80.4 | FM Yokohama | 35353 | 小田原 | 100 | |
| 80.7 | NHK-FM | 55555 | 千葉 | 5K | 千葉からとは思えないほど強力 |
| 81.3 | J-WAVE | 34353 | 東京 | 10K | イマイチ弱い |
| 81.6 | K-MIX | 25443 | 御殿場 | 10 | |
| 81.9 | NHK-FM | 35353 | 横浜 | 5K | |
| 82.5 | NHK-FM | 35353 | 東京 | 10K | |
| 83.0 | NHK-FM | 35353 | 島田 | 30 | |
| 83.3 | NHK-FM | 25252 | ? | ||
| 83.5 | NHK-FM | 35353 | 小田原 | 100 | |
| 83.8 | NHK-FM | 35353 | 御殿場 | 10 | |
| 84.2 | NHK-FM | 15231 | 熱海 | 100 | |
| 84.7 | FM Yokohama | 35353 | 横浜 | 5K | 以前はNHKの混信があったが、今回は気にならなかった |
| 85.3 | NHK-FM | 25252 | ? | ||
| 85.9 | K-MIX | 45454 | 島田 | 30 | |
| 86.6 | K-MIX | 25252 | 沼津/三島 | 100 | |
| 88.8 | NHK-FM | 55555 | 静岡 | 1K | 地元局 |
今回改めて放送バンドのスミからスミまで聞きましたが、いろいろな発見がありました。
神奈川のコミFMが聞こえるとは思わなかった!
それにしても、インターFMなんて地元のFM Hi!の混信を受けながらも聴取に耐えるほどに受信できているのに、J-WAVEが良く聞こえないのはナゼなんだ〜。ローカルノイズが何かあるのかな?
ご意見、ご感想はこちらまで→jg2tsl@jarl.com