「ver.Tenshi」の製作の仕方を書いてみます。材質や寸法の誤差で、同様の性能が出るかどうかは保証できませんが・・・Hi
A-1.バネの加工
| 用意するもの | 数量 | 入手先 | |
バネ![]() |
10 | DIYショップ | |
バネ![]() |
2 | DIYショップ | |
| 圧着端子 R1.25-5 |
2 | ![]() |
電子パーツショップ |
| 圧着端子 R-1.25-3.5 |
7 | 電子パーツショップ | |
| 圧着端子 R-1.25-3 |
5 | 電子パーツショップ |
このアンテナの特徴である、バネの加工をします。


上記の要領で、大小それぞれ作成します。
| 圧着端子 | バネ | 圧着端子 | 製作個数 | |||
| バネ(大) | ブーム固定用 | R-1.25-5 | 0.9 x 8 x 70 | R-1.25-3.5 | 2 | ![]() |
| バネ(小) | エレメント固定用 | R-1.25-3.5 | 0.6 x 3 x 35 | R-1.25-3 | 5 | ![]() |
A-2.エレメントの加工
各エレメントを製作します。
| 用意するもの | 数量 | 入手先 |
| アルミパイプ 外径6mm 長さ2m |
10 | アルシャン工業 0550-89-7171 |
| ビス 2φ 20mm |
10 | パーツショップ |
| スプリングワッシャ 2φ |
10 | パーツショップ |
| ナット 2φ |
20 | パーツショップ |
| A−1で製作した ばね(小) |
5 |
| 切断長さ | |
| Ref | 1483 |
| DE | 1465※要調整 |
| Dir1 | 1385 |
| Dir2 | 1361 |
| Dir3 | 1320 |
長さと配置はYO等のソフトで、好みの寸法に最適化を計って下さい。
切断の方法は問いません。高速カッターを持っている方は、簡単に切れるでしょう。手動のパイプカッターでも少し手間が掛かりますがきれいに切れます。カナのこでも切れますが、非常に手間が掛かります。パイプカッターはDIY店などで1000円〜2000円で売られているので、これを機に買ってしまってもよいかもしれません。
先端から25mmのところに3mmの穴をあけます。
2本ずつ、計10本製作して下さい。

下図のようにビスとバネ(小)をエレメントにセットします。


A-3.ブームの加工
このアンテナの特徴の1つである、ブーム接合部を製作します。
| 用意するもの | 数量 | 入手先 |
| アルミパイプ 外径19mm 肉厚1.4mm |
1 | アルシャン工業 0550-89-7171 |
| アルミパイプ 外径16mm 肉厚0.9mm |
2 | アルシャン工業 0550-89-7171 |
| ステンレスビス 3φ 30mm |
4 | ネジ屋 |
| ステンレススプリングワッシャ 3φ |
4 | ネジ屋 |
| ステンレスナット 3φ |
8 | ネジ屋 |
| A−1で製作した「バネ(大)」 | 5 |


5.C.で製作したバネとビスを以下のようにセットして取りつけます。

6.圧着端子を少しつぶして、外れないようにします。

7.試しに接続してみます。
スムーズに接続できれば良いのですが、堅めになってしまうようだったら、ネジを少しゆるめれます。ネジをきつく締めるとパイプが変形してしまうようです。



A−4.エレメント支持パイプの製作
エレメントクランプ部分もアルミパイプで製作します。
| 用意するもの | 数量 | 入手先 |
| アルミパイプ 外径8mm 肉厚0.9mm |
1 | アルシャン工業 0550-89-7171 |

高速カッター等で切ると切りしろが大きいので、パイプカッター等で切るのが良いです。
5ケ製作して下さい。
※アルミパイプは肉厚0.9mm指定です。普通にアルミ材屋に出回っているパイプは肉厚1mmで、このパイプの中に6mmのパイプを入れるのは大変です。肉厚0.9mmのパイプはアルシャン工業、もしくは、ハムショップで購入するのが良いと思います。
A-5.エレメント−ブーム接合部の製作
エレメントとブームの接合部を組み立てます。
| 用意するもの | 数量 | 入手先 |
| ビス 2φ 20mm |
5 | パーツショップ |
| スプリングワッシャ 2φ |
5 | パーツショップ |
| ナット 2φ |
5 | パーツショップ |
| A−3で製作した 「ブーム」 |
||
| A−4で製作した 「エレメント支持パイプ」 |
5 |
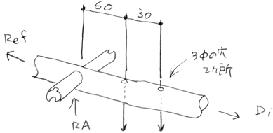
この穴は「エレメント支持パイプ」がギリギリで入る寸法が望ましいので、とりあえず6mmくらいの穴をあけ、段々とリーマで拡大していきます。こまめに「エレメント支持パイプ」が入るかどうかチェックしましょう。少しでも大きく開け過ぎるとスカスカになってしまいます。
また、この穴の精度で、エレメント同士の水平が決まります。1つの穴を開けたら、そこに「エレメント支持パイプ」を実際に差し込んでしまい、エレメントも挿して、ドリルの刃と垂直の度合いを調整して慎重に開けます。
位置は以下の通りです。

この時、「エレメント支持パイプ」のセンターとブームのセンターが一致するようにします。
ブーム同士を止めるネジの頭がある側とします。
5.以下のようにネジをセットします。

A−6.マストクランプの取り付け
いろんな種類のマストクランプがありますが、私は蝶ねじ2個で締め付けることができる、Uボルト1個のタイプを利用しました。実際にはアンテナを組み立ててしまって、重心の位置を調べてから取り付けてください。
. 
B-1.Tマッチ接続クリップの製作
| 用意するもの | 数量 | 入手先 | |
| ワニ口クリップ(大) | 4 | ![]() |
電子パーツショップ |
| すずメッキ線(直径2mm) | 少々 | 電子パーツショップ | |
| すずメッキ線(直径0.6mm) | 少々 | 電子パーツショップ |
2つのワニ口クリップ(大)を使用して作ります。この方法は多くの方が試されていると思います。特徴としては、接続部分の強度を上げるためにすずメッキ線を使用していることでしょうか。欠点は、元々ワニ口クリップが屋内使用を想定して製造されている為、しばらくすると錆びてしまうことでしょうか。
なお、クリップの軸になっている棒と、クリップ本体が接続されているリベットの部分を軽く半田付けしておくと、あとでクリップが破損しにくくなります。半田を流し過ぎると、クリップが開かなくなってしまいますので、手早く作業して、半田が広がらないようにしないといけませんが・・・。
上記の要領で2個作ります。
B-2.給電部プラスチック板の加工
| 用意するもの | 数量 | 入手先 |
| プラスチック板(厚さ5mm) 50mm x 60mm |
1枚 | DIYショップ プラスチック板専門業者 |
5mmのプラスチック板はDIY店では扱っていないこともあるようです。イエローページを開くと、プラ板を切り売りしてくれる業者もあるようで、このような業者に頼むと面倒な切断までやってくれるし、板のムダも無く、楽に出来ます。やってくれる業者が近くにいるかどうかですが・・・(静岡市にはありました。)
Tマッチの中心部にプラスチックの板を使用します。以下のように加工します。
当初、厚さ3mmで作成しましたが、運搬中に折れてしまったことがあったので5mmに変更しました。プラスチック板を手で切断するには、以下の方法で行いました。機械にはかないませんが、うまく切れます。
上記の要領で1枚作ります。
B-3.同軸ケーブルの加工
| 用意するもの | 数量 | 入手先 | |
| 同軸ケーブル 3.5D-SUPER (50Ω系ならなんでも良い) |
5m | 電子パーツショップ ハムショップ | |
| M型コネクター(メス) MJ−3X |
1 | ![]() |
電子パーツショップ ハムショップ |
| インシュロックタイ 耐候性タイプ 巾4mmくらいのもの |
6ケ | ![]() |
電子パーツショップ DIYショップ |
| 圧着端子 R-1.25-3 |
2ケ | 電子パーツショップ | |
| ACコード 2mm (割いて使うので、 ACコードでなくても良い。) |
10cm | ![]() |
電子パーツショップ DIYショップ |
| すずメッキ線(直径2mm) | 5cm | 電子パーツショップ | |
| すずメッキ線(直径0.6mm) | 20cm | 電子パーツショップ | |
| 透明ホース 外径18mm 内径15mm |
3cmほど | ![]() |
DIYショップ |
| 2液性エポキシ接着剤 | DIYショップ | ||
| ビニールテープ |
同軸ケーブルを使用して、Uバランを含む給電部を製作します。
同軸ケーブルの長さで位相差を得るために、なるべく正確に切断する必要があります。僕は下記の調整方法によって、(1/2λx短縮率)の長さを得ました。3.5D-SUPERでの製作では、2,320mmでした。
2本製作しますが、1本の片側にはM型コネクター(メス)を取り付けます。他の端部(※2)は以下のように加工します。
両先端を加工した同軸ケーブルをUバランとして使用し。片側にM型コネクターを取り付けた同軸ケーブルを給電線として使用します。

3本の同軸ケーブルの網線部分同士をすずメッキ線(0.6mm)でグルグル巻きにします。あまり強く巻くと、半田付けした時に内部絶縁体がつぶれてしまうので、緩いくらいに巻きます。網線の隙間にすずメッキ線(2mm)を絡めて、半田で固めてしまいます。このすずメッキ線(2mm)はあとでブームに固定して強度を持たせるので丈夫に半田付けします。
a.コネクタからの同軸と、Uバランの片側の同軸の芯線同士を接続する。
b.上記の芯線にACコードを半田付けする。
c.Uバランの反対側の芯線とACコードを半田付けする。
![]()
![]()
透明ホースを3cmほどに切断し、片側に4ケ所切れ目を入れます。
このホースを半田付けした部分に被さるようにはめこみます。そしてインシュロックで止めます。
リード線の出ている側からエポキシ接着剤を流しこみ、半田付けした部分を固めてしまいます。
※一度接着剤で固めると手直しが大変なので、テスター等で導通を調べておきます。
リード線とすずメッキ線の先端に圧着端子を取り付けます。位置がずれるとプラスチック板に取り付かなくなってしまうので、プラスチック板の穴の位置に合うように切る長さを決めます。
B−4.蝶ボルトの製作
蝶ボルトは市販品に無いので自作します。
| 用意するもの | 数量 | 入手先 |
| 蝶ナット 3mm |
2 | ネジ屋 |
| ナット 3mm |
4 | ネジ屋 |
| ビス 3mm x 30mm |
6ケ | ネジ屋 |

普通の半田ではステンレスの半田付けができないので、クロームメッキ等の物を使用して下さい。でも、錆びてしまうんだよなー。
2セット製作して下さい。
B−5.マッチングロッドの製作
Tマッチに使用するマッチングロッドを作成します。
| 用意するもの | 数量 | 入手先 |
| アルミパイプ 外径6mm |
エレメントの残りを使用 | アルシャン工業 0550-89-7171 |
金槌で叩いてしまうか、万力で無理矢理つぶしてしまいます。つぶす範囲は、先端から2cm〜3cmでよいと思います。
先端から5mmのところに3mmの穴をあけます。
2本製作して下さい。


加工後の先端部の様子
B−6.給電部の製作


B−1〜B−5で製作したパーツを利用して、給電部の組み立てを行います。


A,Bで実際にはアンテナは完成しましたが、組み立てなければなりません。
移動地に行っての組み立て作業は以下のように行います。

組み立て前の全部品









ね! 組み立ては超簡単でしょ。
これで、アンテナが完成しました。次は調整作業です。(続く)
ご意見、ご感想はこちらまで→jg2tsl@jarl.com